Arizona Foundation Solutions provides expert helical pile services and solutions to stabilize settling, sinking commercial structures. We install Supportworks Helical Piers, which can efficiently stabilize distressed foundations by transferring the load of a structure from unstable soil through the piers to competent soil strata below. A common solution in construction and engineering, helical piles are also used in pre-construction deep foundation systems, industrial retrofits, and new additions and modifications.
Our team has a wealth of experience installing commercial helical piles in Arizona, and we can help identify the best solution for your property. Contact us at 1-602-598-5603 or click below to get started with a free estimate in Tucson, Phoenix, Glendale, or nearby.

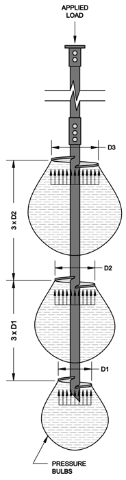
Helical piles are a factory-manufactured steel foundation system consisting of a central shaft with one or more helix-shaped bearing plates, commonly referred to as blades or flights, welded to the lead section.
Extension shafts, with or without additional helix blades, are used to extend the pile to competent load-bearing soils and to achieve design depth and capacity. Brackets are used at the tops of the piles for attachment to structures, either for new construction or retrofit applications. Helical piles are advanced (screwed) into the ground with the application of torque.
Helical piers were invented over 100 years ago for commercial construction, used first in tension applications to hold down cables, then later in compression applications to shore up loads in soils. The term helical pile is used interchangeably with screw piles, helical piers, helical anchors, helix piers, and helix anchors. However, the term "pier" more often refers to a helical pile loaded in axial compression, while the term "anchor" more often refers to a helical pile loaded in axial tension.
Helical piers from Supportworks are made of steel and include a set of helical blades on the lower section of the pier. Round-shaft helical piers have a high resistance to buckling and have the torsional strength to penetrate deep into competent soil, unlike other square-shaft helical alternatives. Another benefit of helical piers is that they do not use the weight of the building or structure as resistance during installation, so they can be used on both heavy and lightly loaded structures.
For more information, view our helical pile system product specification brochure.
First, the soil is removed from the area where the helical pier will be installed. Helical pier sections are mechanically "screwed," or advanced, into the soil. The first section of the pier that is advanced into the ground has one or more helical blades, or bearing plates, welded to the shaft. Additional helical pier sections do not typically have bearing plates and are instead used to extend the pier to the necessary installation depth.
Once proper depths and capacities are achieved, heavy-duty steel foundation brackets are positioned below and against the foundation footing. The weight of the structure is then transferred through the helical piers to deep, competent soils. Lifting it back toward its original position is attempted. Then, the soil around the foundation is carefully replaced. In new building applications, a top cap is placed on the top of the pile where it is embedded in new concrete grade beams or pile caps.
Arizona Foundation Solutions has the experience and expertise to provide helical pile solutions for your next commercial foundation projects.
Based on the specific foundation challenge, we design a custom solution incorporating helical piles and other techniques as required to provide greater structural stability for your project. These designs are vetted by our in-house engineering team to ensure that you don't waste time on unworkable solutions. Our engineers will provide support before, during, and after the design process. The goal is to ensure a cost-effective solution that addresses the problem and allows the completion of your commercial foundation project confidently and on time.
Contact us at 1-602-598-5603 or online today to learn more about commercial helical pile installation in Phoenix, Tucson, Glendale, and the surrounding area.